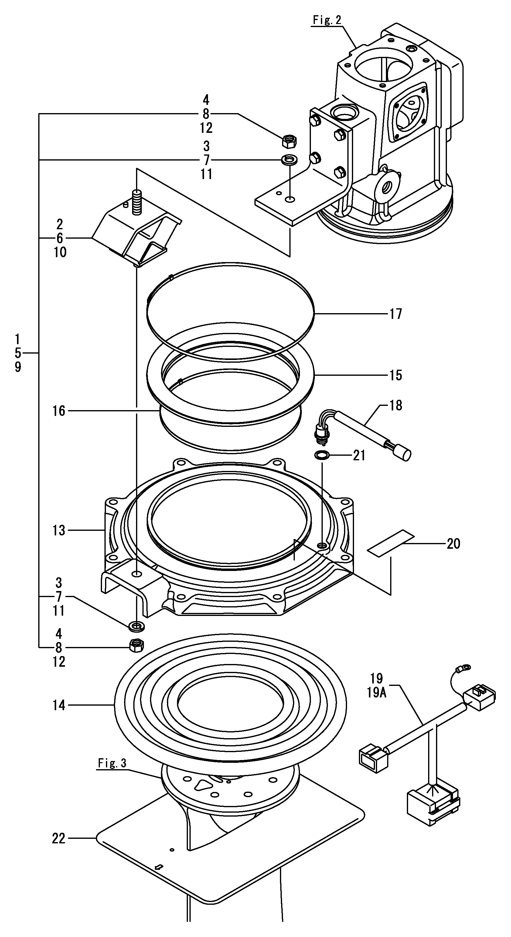
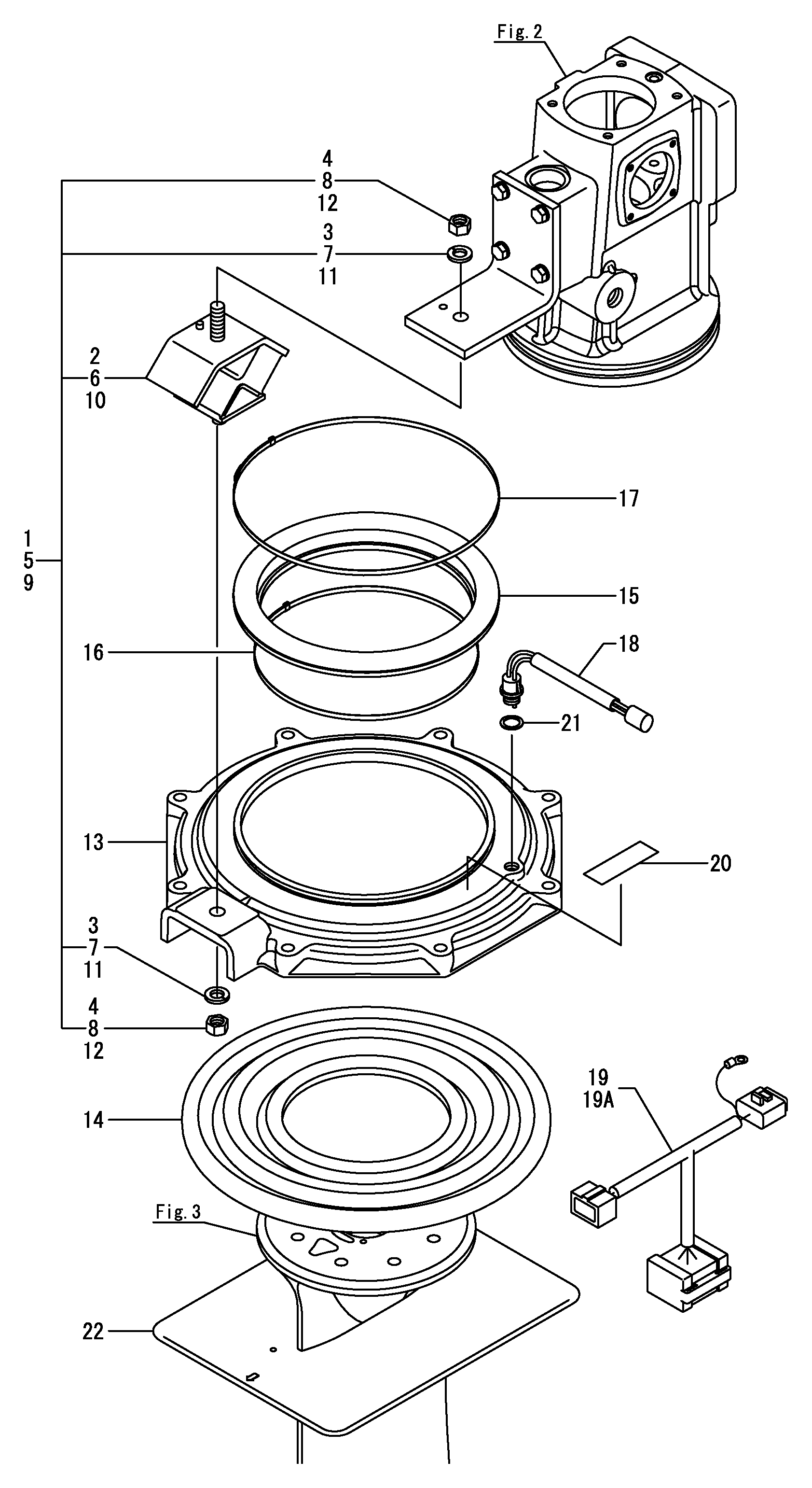
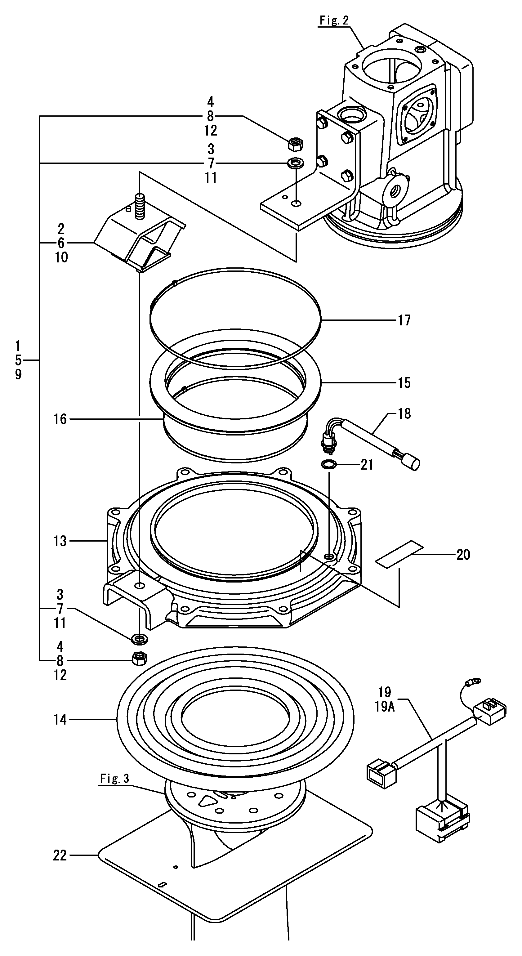
YANMAR SAILDRIVE SD30 motor reservedele
6 products
Showing 1 - 6 of 6 products
Motor reservedele til YANMAR SAILDRIVE SD30
Showing 1 - 6 of 6 products
Display
View

Dansk Marine Center
Shaft seal ring. Output shaft SD20/25 -SD30/31
Sale price272,00 kr
Re-stocking soon
Filters (0)




