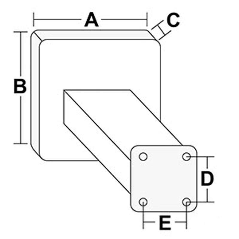
Motor lifting bracket max 35 kg in aluminum with PVC motor plate


Price:
Sale price1.149,00 kr
Stock:
Re-stocking soon

Description

Måske kan du også bruge

Du har tidligere kigget på